您的位置 》首页文章信息
三秦品牌
 
客户案例
· 英国艾森克啤酒集团有限公
· 北京航空航天大学
· 山西云雁石化有限公司
· 广州易鸿生物科技有限公司
· 北京千鱼元子教育科技有限
· 北京爱享文化传媒有限公司
· 英特沃斯(北京)有限公司
· 内蒙古共信电气股份有限公
· 陕西安智实业有限公司
· 江苏扬州京国实业有限公司
· 北京千易盟文化公司
· 北京人福医疗器械有限公司
· 北京东方视报有限公司
· 朱炳仁铜都博物馆
· 云南玉溪市新平县民族医药
· 中国皮革和制鞋工业研究院
· 中国民间音乐团
· 中央音乐学院
· 山东轻工业学院
· 东北农业大学
· 北京理工大学
· 华北电力大学
· 清华大学
· 四川省永林文化传播有限责
· 湖北联城广告传媒有限公司
· 福建青口科技有限公司
· 北京伊美尔长岛医学美容门
· 福州萱裕金属配套有限公司
· 北京环球天下文化传播有限
· 东莞市秋枫树建筑劳务分包
更多  
 
友情链接

国家企业信用信息公示系统

国家版权局

中华人民共和国中央人民政府

国家知识产权局

国家海关总署

中国版权保护中心

国家商标局

国家商标评审委员会

北京专利申请

国家市场监督管理总局

 
旺仔服饰走向没落的警示性分析《终结篇》
双击自动滚屏 发布者:admin 发布时间:2023/11/1 阅读2030次 【字体:

透过前面的文章“ 旺仔服饰走向没落的警示性分析”不难看出,商标,尤其一个企业的核心商标,它的有效续存是多么的重要。

旺仔服饰作为一家服装企业,单就外部(企业内部信息在此不便谈及)品牌定位来讲,具备长远发展的基础商标信息布局,更何况国内还有旺仔牛奶的品牌存续,这种原生归属两个不同企业的,相同商标名称的出现,且都是服务于一个相同群体——儿童群体,这种现象极容易产生非常珍贵的品牌叠加效应。这种品牌叠加效应,会助力双方的飞速发展。从这一点来讲,旺仔服饰的长足发展,具备良好的外部市场信息,应该是蒸蒸日上,发展相当有成效的。然而,由于该公司没有高度重视企业的商标保护,特别是核心品牌“旺仔”和“WNKIDS”商标的保护,没有进行及时有效的维护和监管,甚至是连一丁点的专业级别的有效挽救措施都没能做出来。

之所以拿出这个案例来解析,是因为该企业对待商标证书后期出现危困局面,选择”放弃式面对“,这种现象并非个案。如此这般,忽视企业核心商标品牌保护和挽救的现象,充斥着市场,往往被视作常态来看。其实不然,三秦知识产权有破解之策,尽可能规避企业核心商标品牌的”断崖式消亡“(通常是指手续性消亡,企业的品牌运营实际在有效运营状态)。

至此,就该案例做一下梳理解析。

一、旺仔服饰“WNKIDS”商标走向无效

 

 仔细分析一下,由上图可以看到,该企业从1995年就迎来了“旺仔”牌童装的问世。接下来,陆续多年的持续增加商标注册,和跨类别产品保护,从商标保护层面能折射出,该企业的运营是顺利的,规模化发展是相当有成效的。在和公司创始人辛先生的互动中,得到过印证,前些年公司的发展是非常顺畅,且效益也非常好。任何一家企业的发展,都亟需这样朝气蓬勃发展的平稳期和上升期,这对于一个企业的长远发展和未来布局,至关重要,且是核心的原始资金积累关键期。旺仔服饰在前些年的发展中取得了辉煌的战绩。

恰恰是在这个发展上升阶段,企业核心商标开始出现手续性问题,使得品牌的宣传和推广,遇到了手续上的阻碍。在接下来的手续衔接、专业分析、专业及时有效挽救方面,屡屡失败,一步步丢掉了“旺仔”和“WNKIDS”的商标专用权。

结果是企业旗下商标被净空,这是目前的现状,最好不是最终的结局。

三秦知识产权,有助力企业破解商标危困局面的方案信息:

在上面的列表当中,有两个关键商标信息第“5215846”号和第“66736285”号商标“WNKIDS”。

从手续的衔接角度来讲,第“5215846”号“WNKIDS”商标是核心且关键所在,这个商标必须确保,才能破解被动局面,第“66736285”号“WNKIDS”商标重新注册申请,仅具备补充意义。

参照最新的商标状态信息分析:第“5215846”号“WNKIDS”商标信息如下,

 

 

目前该商标是被撤销无效状态,是一个暂时性终局状态,接下来是否启动手续性挽救工作,就看企业的决策层如何考量了。根据最新的与企业创始人的衔接,决策层还未有明确决策信息,至此,该商标的后续手续衔接告一段落。该商标的未来,大概率会维持目前的终局状态。

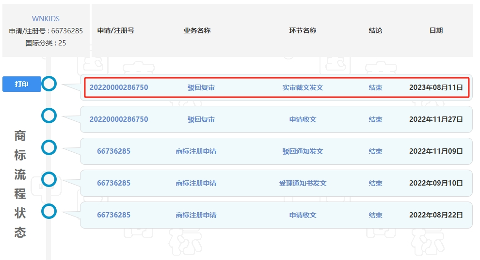
接下来看,第“66736285”号“WNKIDS”商标信息如下:

 

 

该重新注册的手续,本就是一个补充角色,现有的状态印证了,这个手续的使命终结,没有起到有效的挽救性效果。

信息分析到这里,才是三秦知识产权破解局面的开始。

二、三秦知识产权破解之策

仅就目前的两个核心商标的状态,三秦知识产权有破解商标危困局面的方案信息。

接下来,先看最早的第“5215846”号“WNKIDS”商标:

 

企业拿到的商标局裁文,是衔接手续的最佳选择。接续复审,直至诉讼,这些手续都不该中断,这是商标得以持续有效维系的必要手续安排。

可,从目前的商标状态看,企业选择了放弃,这是最可悲的选择。

接下来,看第“66736285”号“WNKIDS”商标:

 

商标的驳回失败,也不是手续的终局,依然应该持续诉讼,接续手续的跟进,如此商标的挽救才能迎来机会和可能。

从这个商标号码的状态看,企业选择了放弃,这是最可悲的选择。

针对企业选择一路放弃的冷处理方式,企业的商标品牌发展是不值得期待的。在手续的及时有效衔接和挽救方面,存在多次的机会,都选择放弃,企业的没落是难以逃脱的归宿。

寄希望于,接下来力挽狂澜的一个举措,如果企业创始人,有足够的魄力和胸怀,为旺仔服饰的辉煌,再续写新未来的话。

三秦知识产权的建议是,启动品牌重建计划或是驰名商标认定计划。

首先,品牌重建计划至少有两个方面的工作部署:一是,组建新的知识产权服务团队,详细分析和解读,前面手续的不足和曾经错过的挽救机会信息,找到可以突破的关节信息点和信息源。有一个真命题是,只要旺仔服饰一直在真实有效存续,且真实有效的使用和宣传”WNKIDS“商标,该商标就可以恢复商标有效性。一个商标的有效性,源于该商标的真实有效使用,更关乎企业对于该商标手续的持续维护和监管。针对这些工作,只要旺仔服饰决策层,还有再现旺仔辉煌的想法,是确定有商标恢复的理论依据和现实可操作手续的。

二是,重新启动新的商标品牌,另谋新生,这是退而求其次的无奈之举。前面都选择了放弃,就要学会面对,忘记过去,开辟新生。

其次是,驰名商标认定计划,这是一个极具攻坚难度的工作,但是对于挽救特殊老旧商标于危难,确属良策妙方。前面一切手续的终结,会导致,短期内多个手续的衔接成为不可能,这样会使目前的局面更加窘迫。除了,请专业的知识产权服务团队介入分析前面发生的手续断档问题,专业解析出来的信息,极有可能对于该商标品牌的新生寻找到,一丝新的希望,也许会是一个非常难得的窗口期。

驰名商标的认定方式和途径是多元的,针对目前旺仔服饰的商标手续现状,选择投诉侵权认定驰名或是提出异议认定驰名,应该都具备可操作空间。具体方案信息,需要等专业攻坚团队介入工作后,根据专业解析信息的出炉,才能有针对性的给出方案。

至此,三秦知识产权解决企业商标困境的解析工作先讲到这里。

三、三秦知识产权专项监管服务

讲到这里,已经非常清晰,想要把一个企业做好,特别是想要把企业商标品牌打造好,企业就必须高度重视商标证书后期的维护与监管工作。三秦知识产权自成立之初,就注重培育企业重视商标监管的服务理念,商标证书之后的价值挖掘更是市场所需要的,也是企业发展所亟需的。特别是企业核心商标出现危困局面,三秦知识产权可提供专项攻坚服务,必解燃眉之急,专业的团队,专业的服务,全力协助企业恢复良性运营新态势。   

三秦知识产权首推创造永恒的服务理念,开创商标监管先河,传承商标永恒文化。其宗旨就是帮助商标权人明晰商标专用权属性,拓展无形资产价值空间,创造出商标品牌附加值。

选择三秦创造永恒®服务,为商标品牌后续发展和传承做足储备工作!


文案    文竹    德胜元

 

打印本页 || 关闭窗口
北京三秦知识产权代理有限公司◎版权所有 违者必究!
咨询服务热线:010-62735495 商标服务热线:010-64360898 监督电话:13146023501
邮箱:dsy600@sina.com       微信:dsy600
Technical Support To cominter.cn
在线客服系统